On the 'Wing... #117, published in RCSD July 1998
 

Steve Morris' Computer Stabilized Flying Wing Project


In our December 1996 column, we included the following quote from Hans-Jurgen Unverferth of Germany:

"Why do we use radio controls? To build constructions characterized by very high 'own-stability'? It's a joke! We have to be creative; fantasy has to rule our thoughts! Think about the F-16, B-2, all the modern fighters. There is no 'own-stability,' there is a computer! This is the future of model sailplaning. And there is one geometry waiting for this time - the tailless glider!"1

In July of 1987, at Dillon Beach California, an actively controlled unstable flying wing aircraft was successfully flown. This month's column is devoted to an in-depth description of the aircraft and systems which made that success possible.

The actively controlled unstable flying wing aircraft project was completed by Steve Morris (mentioned in a previous "On the 'Wing..." column), Rick Miley, and Dave Larkin, collectively called The Palo Alto Shipping Co., under the direction of Prof. Ilan Kroo of Stanford University and Dr. R.T. Jones.

At the time of project inception, Steve had already been involved in the design, construction, and flying of a number of tailless RC models. He had written a rather sophisticated computer program to aid in the design process, and had, in fact, designed, built and flown a preliminary model of the S.W.I.F.T. (Swept Wing with Inboard Flap Trim) rigid wing hang glider.2

One problematic aspect of tailless flight which intrigued Steve can be directly related to "planks" and planforms with moderate rear sweep. When the elevator on a plank is deflected upward, it is to increase wing lift. Yet the upward deflected elevator creates a severe downforce which limits overall lift. Additionally, drag increases significantly more rapidly than lift. See Figure 1.

What Steve was looking for was a way to deflect the elevator downward to increase lift. One way of achieving this is to use a swept wing planform in which the wing sweep angle is such that the elevator can be placed inboard and ahead of the center of gravity (CG). See Figure 2. While a standard swept wing with elevator outboard can be envisioned to be similar to a conventional tailed sailplane (Figure 3A), this highly swept configuration with inboard elevator is similar to a canard configuration (Figure 3B) in that the control surface for pitch is forward of the CG.

Moving the elevator inboard normally requires a substantial increase in the sweep angle. In the accompanying diagrams, Figures 2 and 3B, the wing sweep angle is around 45 degrees. It should be noted wing sweep angles of over 30 degrees are not usually considered viable for subsonic flight because of severe cross-span flow and excessive effective dihedral at high coefficients of lift.

An alternate method of solving "the elevator problem" is shown in Figure 4. In this case the CG is placed behind the aerodynamic center (AC). This makes for an unstable aircraft which cannot be flown for a sustained period by a human pilot, but otherwise solves the elevator problem, as well as making for a more efficient airplane. As Hans-Jurgen stated, an unstable airplane requires computer control. This is the route The Palo Alto Shipping Co. chose in order to achieve their goal.3

The basic aircraft was designed using a vortex lattice code.4 This provided stability and control information, and defined an optimal level of instability. The design was formulated to explore flight characteristics at 6.5% static instability in pitch. An overview of the aircraft exterior is shown in Figure 5.

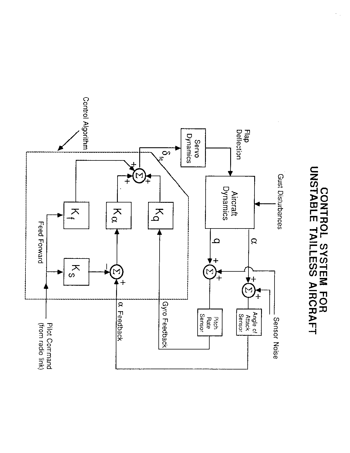
Control of the aircraft was handled by an onboard computer consisting of a Motorola 68000 CPU with a floating point coprocessor - essentially a Macintosh motherboard. The computer combined the input from an angle of attack sensor (a vane mounted near the nose) and a pitch rate sensor (an RC helicopter gyro) with the pilot commands transmitted from the ground, and sent appropriate signals to the flap servos in the wings. The aircraft hardware layout can be seen in Figure 6.
The computer control algorithm was determined by "flying" the wing on a single axis gimbal. The gimbal was mounted on a Jeep which was then driven down a quiet road. Because of the relatively short time to double in pitch, just 0.3 seconds, special high speed servos were needed to keep up with the feedback cycle and avoid unwanted excursions in pitch.

In addition to controlling the flap surfaces, the onboard computer also collected data from eight channels at 20 Hz. and stored the information in RAM for later downloading to a conventional Macintosh computer on the ground. Two minutes of data could be collected before RAM was filled.

Because of the computer and associated battery supplies, the 12 ft. span glider weighed 20 lbs., ready to fly.

At Dillon Beach, the aircraft was hand launched from the top of a sand dune and directed by control inputs from a standard RC transmitter. The first flight was made with the CG forward of the aerodynamic center; the CG was moved rearward for subsequent flights.

After launch, the glider was flown through an "S" turn and flared for landing. Collected flight data indicated that the time to double in pitch was 0.298 seconds when the aircraft was 6.5% unstable. This closely matched the data collected during ground testing. Yet the flight characteristics were so unremarkable the videotape retains the comment, "Boy, if you didn't know that thing was unstable... you wouldn't know!"

The aircraft was finally flown at 9.0% static instability, well beyond the design instability point of 6.5%. In this condition, flap deflections were extreme while turning and during the flare for landing, and flight data showed a marked decrease in performance.

Given the low cost of small computers and the ease with which various peripheral data acquisition devices can now be constructed and connected, we anticipate similar and more advanced experiments involving unstable tailless sailplanes in the near future.

Since that successful series of flights at Dillon Beach, Steve has been involved in a number of other tailless projects:

  • As previously mentioned, Steve is co-designer, along with Ilan Kroo, of the S.W.I.F.T., a foot-launchable flying wing sailplane now being produced by BrightStar Gliders of Santa Rosa California. Steve was involved in the Doctoral program at Stanford University at the time.
  • In 1990 he created an autorotation system for swept wing tailless aircraft for use in vehicle recovery.5
  • Developed an oblique wing demonstrator, powered by a standard model airplane engine and propeller combination. The wing-fuselage angle was not adjustable. CNN carried a news story on the model in 1991, complete with commentary by Dr. R.T. Jones.5
  • Steve designed, built and flew an oblique wing demonstrator aircraft for NASA in May 1994. The wing sweep angle varies from 35 degrees at takeoff to 68 degrees at cruise, necessitating rotating the pylons on which the two Viojett ducted fan engines are mounted. The model has a span of 20 feet and weighs 80 pounds. It is constructed of a foam and Kevlar sandwich, and has an aluminum spar and steel landing gear supports. There are ten trailing edge control surfaces and two moveable fins. Eighteen servos are required to fly the airplane and steer it on the ground. (Yes, all four landing gear struts are steerable as well.) An onboard computer system reads the pilot's radio commands and combines this information with data collected from six onboard sensors. Eleven data channels are recorded in RAM for downloading after landing.6
  • Steve is currently involved in the design and production of several "spy planes," including the winner of the first University of Florida Micro-Aerial Vehicle Flyoff. A more recent design, The Bat, an 18 inch span, 16 ounce swept wing aircraft, is powered by a small off-the-shelf internal combustion model airplane engine. Able to carry two video cameras, this small aircraft is currently undergoing study as a viable surveillance vehicle.7

----------
  1. Kuhlman, Bill and Bunny. "Achieving the Potential of Tailless Planforms." RC Soaring Digest, Judy Slates Ed., December 1996, pp. 8-9. Also available in "On the 'Wing... the book, Volume 2." B2Streamlines, Olalla Washington, 1997, pp. 181-182.
  2. --. "Steve Morris and the 'S.W.I.F.T.'" RC Soaring Digest, Judy Slates Ed., June 1994, pp. 3-5. Also available in "On the 'Wing... the book, Volume 2." B2Streamlines, Olalla Washington, 1997, pp. 61-64.
  3. Morris, Stephen, Rick Miley and Prof. Ilan Kroo. Flight Research Using Actively-Controlled, Small-Scale Prototypes. Materials provided at presentation given at NASA Dryden, date unknown.
  4. LinAir Pro. Desktop Aeronautics, Inc., P.O. Box A-L, Stanford CA 94305.
  5. Morris, Stephen. Personal correspondence. September 6, 1993.
  6. --. Personal correspondence. August 7, 1994.
  7. Chandler, Jerome Greer. "Micro Planes." Popular Science, January 1998, pp. 54-59.

Links to GIF images of NASA Dryden presentation viewgraphs related to the actively controlled unstable wing:
1 2 3 4 5 6 7 8 9 10 11 12 13 14 15 16 17 18 19 20 21 22 23 24

Other photos of the oblique wing demonstrator:
take-off run, and in the air



return to the unconventional aircraft links page
B2Streamlines home page